关于NASA联名衣服薅羊毛这个事情早就出现好几年了,我只能告诉大家全是假的,国内打着NASA联名的那些衣服啥的全是假联名。

“nasa联名的品牌有Alpha、Vans、 monkey time、Urban Outfitters、 Forever 21、 0ld Ny、 Topshop、 Target、Vivienne Tam、 Hermès 等。还有耐克啥的
不过都是一些国外品牌,国内就没有NASA的联名衣服。
我说一下NASA的logo和蠕虫标的使用,只要你给NASA发一封邮件就可以了,NASA对品牌授权是开放的,只要申请了很容易通过。

这不叫联名,只是允许你使用人家的图标logo,给人家增加曝光度,而且有详细的要求。
然后国内的骗局一般都是在logo的旁边再加点东西,挂羊头卖狗肉,甚至他们根本就没申请使用图标直接拿过来用的,圈一波钱就关店。
他们会在在logo后面加点东西,比如NASA a、NASA cool 、NASA book,随便加点东西成立自己的假品牌。

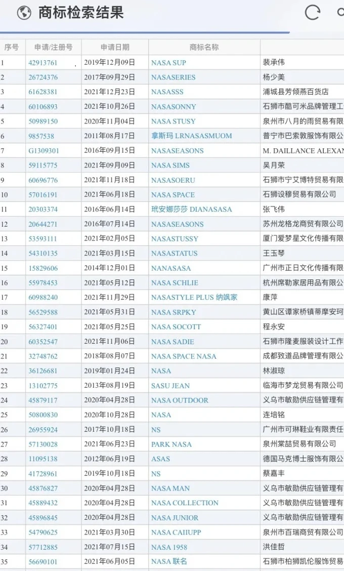
你如果去找的话,网上有上百个自称NASA联名的店铺,而且名字各不相同,到这了你还觉得这个NASA联名值钱吗?
不少骗子会打着薅羊毛,有漏洞的说法比如139.9减100,来吸引人,然后你进去之后发现是真的,然后你看商品NASA联名,是大牌子,还赠送专属礼品袋。


你就会觉得这是大牌子,好东西,还赚便宜,这不买干啥,这时候你就上当了,这衣服质量也就值10块钱。
单薄,开线,掉色,质量嘎嘎次,等你再找回去的时候,你会发现根本没法退款,甚至店铺都没了。
然后你在问客服的时候,你问他是正品吗,他会告诉你是获得了NASALOGO使用权的正规产品,从这就是个误区,获得使用权和是不是NASA联名其实一点关系都没有。
你每通过优惠券链接下单,发优惠券的就会有返现5-20元不等,这都是淘宝羊毛客老路子了,这个NASA从前几年就开始骗,隔几个月一波。